鍋爐煙氣脫硫脫硝設備,鍋爐煙氣脫硫
如果您喜歡本文章,歡迎您分享和關注,吸收正能量!傳播正能量!
【分享到朋友圈】
點擊右上角/分享到朋友圈/發送
【分享到騰訊微博】
點擊右上角/分享到騰訊微博
更多最新資訊請加公眾微信號:vauban
近年來,我國實行了大氣污染物的總量控制和排放濃度控制相結合的政策,加大了大氣污染的治理力度,實行了更嚴格的大氣污染排放標準和排硫排塵的收費制度,使得濕法脫硫除塵技術在我國得到迅速的發展,現已取得長足的進步,技術上也逐漸趨于成熟。
濕法煙氣脫硫技術特別適用于大、中型工業鍋爐煙氣的脫硫除塵,并且還具有設備簡單、易操作、脫硫率高等優點。
“其中用得最多的是石灰石一石膏法。它主要以技術成熟、適用煤種廣、脫硫率高、脫硫劑來源廣等優點,現已成為我國重點提倡的一種濕法脫硫方法。
但在實踐中, 存在著結垢堵塞、腐蝕、廢液處理等問題。而要徹底解決這些問題則是改進濕法脫硫技術的核心一環。
問題形成的主要原因及對策:
1. 結垢堵塞
在濕法煙氣脫硫中,管道與設備是否結垢堵塞,已成為脫硫裝置能否正常運行的關鍵問題。要解決結垢堵塞問題,我們需弄清結垢的機理,以及影響和造成結垢堵塞的因素,然后才能有針對性地從工藝設計、設備結構、操作控制等方面著手解決。
對于造成結垢堵塞的原因,有如下3種方式:
“1)因溶液或料漿中水分蒸發,導致固體沉積;
2)Ca(OH)2或 CaCO3,沉積或結晶析出,造成結垢;
3)CaSO3 或CaSO4 從溶液中結晶析出,石膏晶種沉淀在設備表面并生長而造成結垢。
但在操作中出現的人為因素也是需重視的原因,如:
1)沒有嚴格按操作規程,加入的鈣質脫硫劑過量,引起洗滌液pH值過高,促進了CO2的吸收,生成過多的CaCO3,CaSO4等沉淀物質;
2)將含塵多的煙氣沒經嚴格除塵就進入吸收塔脫硫。
現在還沒有完善的方法能絕對地解決此問題。
目前。一些常見的防止結垢堵塞的方法有:
1)在工藝操作上,控制吸收液中水分蒸發速度和蒸發量;
2)適當控制料漿的pH值。因為隨pH值的升高,CaSO3溶解度明顯下降。所以料漿的pH越低就越不易造成結垢。但是,若pH值過低,溶液中有較多的CaSO3,易使石灰石粒子表面鈍化而抑制了吸收反應的進行,并且過低還易腐蝕設備,所以漿液的pH值應控制適當,一般采用石灰石漿液時,pH值控制為5.8-6.2;
3)溶液中易于結晶的物質不能過飽和,保持溶液有一定的晶種;(壘)在吸收液中加入CaSO·2H20 或CaSO3 晶種來控制吸收液過飽和并提供足夠的沉積表面,使溶解鹽優先沉淀在上面。減少固體物向設備表面的沉積和增長;
4)對于難溶的鈣質吸收劑要采用較小的濃度和較大的液氣比。如:石灰石漿液的濃度一般控制小于l5%;
5)嚴格除塵,控制煙氣中的煙塵量;

6)設備結構要作特殊設計,盡量滿足吸收塔持液量大、氣液相間相對速度高、有較大的氣液接觸面積、內部構件少、壓力降小等條件。另外還要選擇表面光滑、不易腐蝕的材料制作趿收設備,在吸收塔的選型方面也應注意。例如:流動床洗滌塔比固定填充洗滌塔不易結垢和堵塞;
7)使用添加劑也是防止設備結垢的有效方法。目前使用的添加劑有CaCl2,Mg(OH)2,己二酸等。
另一種結垢原因是煙氣中的O2將CaSO3氧化成為CaSO4(石膏),并使石膏過飽和。這種現象主要發生在自然氧化的濕法系統中。其控制措施是通過強制氧化和抑制氧化的調節手段。既要將全部CaSO3氧化成CaSO4,又要使其在非飽和狀態下形成結晶,可有效地控制結垢。
2. 設備腐蝕
設備腐蝕的原因十分復雜,與多種因素有關。如:溶液的溫度、pH值、煤種燃燒狀態、氯離子濃度等。燃煤燃燒過程中除生成 SO2 以外,還生成少量的SO3,而SO3可與煙氣中的水分 (4%~12%)生成硫酸霧。
“當溫度較低時,硫酸霧凝結成硫酸附著在設備的內壁上,或溶解于洗滌液中,這就是濕法吸收塔及有關設備腐蝕相當嚴重的主要原因。
目前,對濕式脫硫系統各部位合理的選擇防腐材料及在設備內外涂防腐材料是解決腐蝕問題的主要方法。
如:經受高溫、腐蝕、磨損較快的部位,可采用麻石、陶瓷或改性高硅鑄鐵;經受中低溫和腐蝕、磨損不嚴重的部位,可采用防腐防磨涂料作表面處理。

“日本日立公司的防腐措施是:在煙氣再熱器、吸收塔人口煙道、吸收塔煙氣進口段,均采用耐熱玻璃鱗片樹脂涂層,在吸收塔噴淋區采用不銹鋼或碳鋼橡膠襯里。另外可適當控制 pH值來避免腐蝕,如:石灰石料漿的 pH值一般控制在 6.5~6.8。
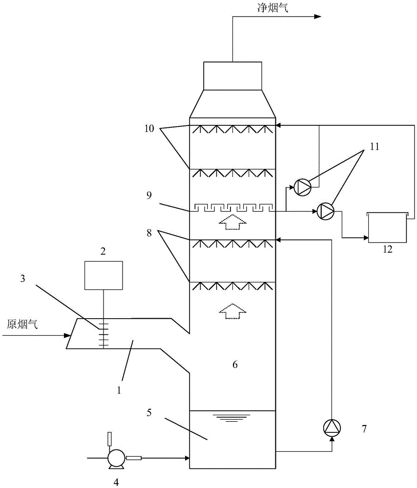
3. 煙氣脫水
濕法吸收塔在運行過程中,易產生粒徑為 lO~ 6Oμm 的“霧 ”。“霧”不僅含有水分,它還溶有硫酸、硫酸鹽、SO3等。如不妥善解決,將使煙氣帶水,腐蝕管道和風機,并使風機葉輪粘灰、結垢,引起風機震動,縮短風機使用壽命。
“因此,濕法除塵必須配置除霧的設備,其性能直接影響到濕法煙氣脫硫系統能否連續可靠運行。
除霧器通常由除霧器本體及沖洗系統構成。除霧器本體作用是捕集煙氣中的液滴及少量粉塵,減少煙氣帶水,防止風機振動;沖洗系統是定期沖洗由除霧器葉片捕集的液滴粉塵,防止葉片結垢,維持系統正常運行。
除霧器多設在吸收塔的頂部。通常應設二級除霧器,使得凈化除霧后煙氣中殘余的水分一般不得超過 100mg/m3 ,否則將腐蝕熱交換器、煙道和風機。
更多精彩,感恩關注
免責聲明:《湖南沃邦環保科技有限公司》轉載上述內容,對文中陳述、觀點判斷保持中立,請讀者僅作參考,并請自行承擔全部責任。
免責聲明: 本站提供的任何內容版權均屬于相關版權人和權利人,如有侵犯你的版權。 請來信指出,我們將于第一時間刪除! 所有資源均由免費公共網絡整理而來,僅供學習和研究使用。請勿公開發表或 用于商業用途和盈利用途。
本文鏈接:http://m.whxzws.com/ziyuan/14877.html
發表評論