潛流濕地,水平潛流濕地
潛流濕地是較多采用的人工濕地類型潛流濕地是以親水植物為表面綠化物,以砂石土壤為填料,讓水自然滲透過濾的人造景觀它以無表面水占地面積小,使用率高維護方便為特點深受人們的喜愛。
這種濕地系統的優點是投資低,缺點是處理能力低,衛生條件差,在我國北方一些地區由于冬季氣候寒冷而不能正常運行2潛流濕地系統也稱滲濾濕地系統在潛流濕地系統中,污水在濕地床的內部流動因而一方可以充分利用基質表面生長的。
就是在地下建立防滲池 ,在池內添加良好墊層和濾料 在地面種植水生植物 通過水生植物 對污水進行處理的設施 運行方式類似濕地系統 被稱為人工濕地。
一萬平方米潛流濕地填料需要的規模大小取決于地形起伏程度水位變化范圍土質材料等多個因素,所以需要根據實際情況進行計算才能得出具體結果如果只是簡單地估算,一般一萬平方米潛流濕地大約需要大約2至3噸填料。

潛流濕地不足以達到預期的凈化效果,大量的農田退水未經處理直接排入接納水體,不僅浪費了水資源,而且污染了接納水體環境農田退水是農業生產過程中農田積水外排或由于降雨徑流所產生的水體,由于農業生產過程中農業肥料的使用。
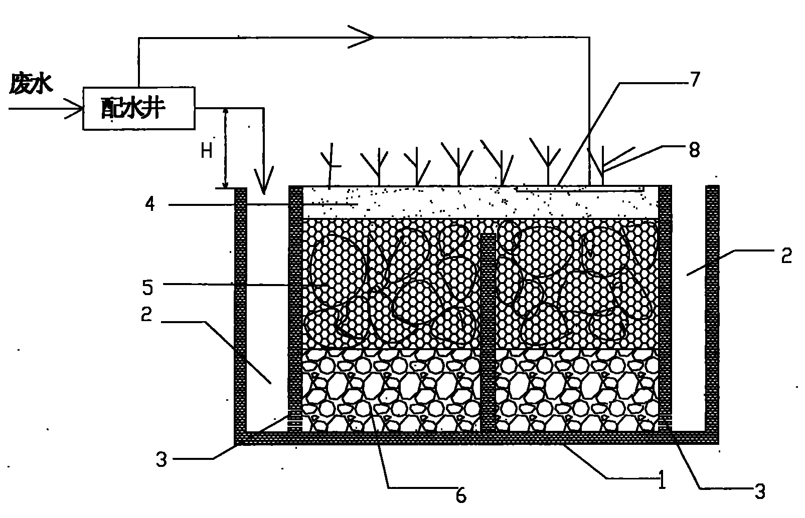
潛流濕地的人工布水系統位于濕地的表面,使水流在濕地表面以下運行,根據水流的方向,又可以把潛流濕地分為水平潛流和垂直潛流濕地兩類1表面流人工濕地 表面流人工濕地這種類型的人工濕地和自然濕地類似,污水從濕地表面流過。
1 確定濕地類型 人工濕地可以分為自由水面流動濕地和潛流濕地兩種類型自由水面流動濕地適用于處理水量較大的污水,潛流濕地適用于處理水量較小且質量較穩定的污水2 確定濕地位置 人工濕地應建立在廢水排放口附近,方便管道。
濕地占地需要50畝根據查詢廢水處理相關信息得知,一萬噸廢水需要50畝垂直潛流濕地采用“多級人工濕地+氧化塘”處理污水,每天可以凈化1萬噸污水原本屬于劣五類的污水經過處理后,化學需氧量氨氮指標達到三類水標準,其余。
沉淀池水平潛流濕地和多級表流濕地馬料河濕地由三級串連的凈化工藝單元組成,依次為沉淀池水平潛流濕地和多級表流濕地,以更有效去除污染物馬料河濕地公園占地7萬平方米,種植滇樸楓香黃連木銀杏等喬木1700多株。
它處于陸地生態系統如森林和草地與水生生態系統如深水湖和海洋之間換言之,濕地是陸地生態系統和水生生態系統之間的過渡帶,濕地結合了陸地生態系統和水生生態系統的屬性,但又不同于二者潛流濕地是將污水有控制地分配。
表面流人工濕地常用于湖泊河流的水質凈化與生態修復 在潛流濕地系統中,污水在濕地床體內部流動,可以充分利用基質層表面生長的生物膜豐富的植物根系及基質截留等作用,有效延長水力停留時間,提高濕地系統的處理效果和處理能力,同時由于。
潛流濕地出水經集水支管集水渠輸送回過河泵站集水池,經潛水排污泵提升后對濕地公園水系補水北湖人工濕地補水回用工程的潛流人工濕地日處理污本實用新型公開了一種水平潛流濕地用配水渠結構,設置在濕地的邊緣,其主體由。
地址西青區侯臺濕地公園 臨港生態濕地公園天津臨港經濟區生態濕地公園是我國大型工業區內為數不多的以水處理為主題兼具景觀效果的濕地公園采用蝶變的概念,從景觀效果上看,調節池的小島是卵,潛流濕地是蝶蛹,后面的景觀湖。
奧林匹克森林公園濕地 地址北京市朝陽區國家 體育 場北路北京奧林匹克公園內 公園內最大的濕地景觀區奧海潛流濕地疊水花臺都是濕地區內的著名景點景觀區種植了大片的蘆葦香蒲菖蒲和美人蕉等植物,在微風吹拂下,沙沙作。
人工濕地是由人工建造和控制運行的與沼澤地類似的地面,將污水污泥有控制的投配到經人工建造的濕地上,污水與污泥在沿一定方向流動的過程中,主要利用土壤人工介質植物微生物的物理化學生物三重協同作用,對污水。
健康”等元素,成為市民共享的休閑綠色空間東莞市塘廈鎮清湖頭濕地公園項目位于東莞市塘廈鎮清湖頭社區,該項目占地面積約206畝,其中生態滯留塘占地面積約14畝,潛流濕地區占地面積約58畝,表面流濕地區占地面積約134畝。
4預處理+A2O活性污泥法+人工濕地 處理規模小于100噸時,A2O工程建設投資為36004500元噸水,運行費用為0812元噸水人工濕地造價因類型不同而有所差異,表面流濕地建設費用為22003000元噸水,潛流濕地。
應對方法個人認為可以在濕地植物和濕地土壤特性方面考慮洪水期種植保水植物這個根據當地植物具體情況,以達到保水蓄水的作用人工濕地可增加大量的粘土,也能夠起到蓄水的作用另外,潛流濕地也是為來的一個發展方向。
免責聲明: 本站提供的任何內容版權均屬于相關版權人和權利人,如有侵犯你的版權。 請來信指出,我們將于第一時間刪除! 所有資源均由免費公共網絡整理而來,僅供學習和研究使用。請勿公開發表或 用于商業用途和盈利用途。
本文鏈接:http://m.whxzws.com/ziyuan/14144.html
發表評論