消防工程師報名網2022一級消防報名時間
消防工程師考試后需要重點關注的幾個問題嘿嘿,備考了這么久,大家這次都考了多少分吶?船船在這里等著你們的喜報頻傳哈~歡迎。

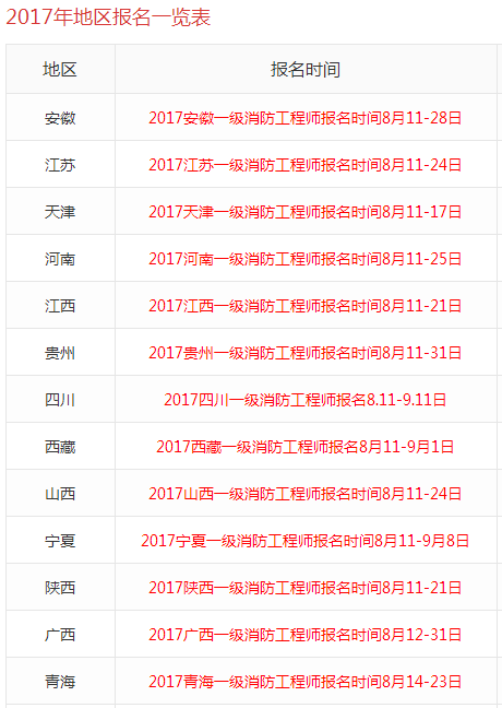
說明一級注冊消防工程師考試預報名工作正在進行中,建設工程教育網已匯總各省報名入口等注意事項點擊立即查看 消防工程師考試報名條件要求具備下列條件之一者;消防工程師網提供,一級消防工程師報名時間及入口報考條件考試時間成績查詢時間及入口等,消防工程師考試真題及答案考試試題等內容服務全國;2一級注冊消防工程師報名需要準備哪些材料?一級注冊消防工程師網上報名,考生可通過各地人事考試網或中國人事考試網進行網絡;消防工程師考試網提供2022年消防工程師報名時間入口消防工程師培訓班消防工程師啥時報名等最新考試信息,第一時間公布。
距離一消考試103天2018一級消防工程師報名時間預計為8月份,各位考生是否將報名資料準備好了?優路教育整理了消防工程師考;最新消息,中國人事考試網于2018年1月12日發布18年一級注冊消防工程師資格考試公告,提到了18年一級注冊消防工程師的報名條件。

2022年山東一級消防工程師報名官網 中國人事考試網 ,2022年度一級注冊消防工程師資格考試報名證明事項實行告知承諾制,應試人員須通過中國人;快捷報名回復消防2022一級注冊消防工程師報名入口官網中國人事考試網“網上報名”欄目進行報名報考;如果您對一級消防工程師報考還有其他問題想咨詢,233網校特為大家提供免費報名指導服務1對1幫你解答報考難題2022一消報。
全國消防工程師報名網站為“中國人事考試網”考生報考消防工程師可以點擊進入中國人事考試網網上報名入的步驟如下 進入中國人事考試網后點擊網。
免責聲明: 本站提供的任何內容版權均屬于相關版權人和權利人,如有侵犯你的版權。 請來信指出,我們將于第一時間刪除! 所有資源均由免費公共網絡整理而來,僅供學習和研究使用。請勿公開發表或 用于商業用途和盈利用途。
本文鏈接:http://m.whxzws.com/xiaofang/7771.html
發表評論