包含江西二級消防工程師報名時間的詞條
1、那么二級消防工程師報考時間大概是什么時候呢?接下來橙子內訓帶大家看看2018年二級消防工程師報考時間已確定?1報考時間推。
2、二級消防工程師2022年開考時間已確定11月5日,報名時間是2022年8月5日至8月12日目前只有甘肅一個省份發布二消開考通知。
3、江西一級消防工程師報名要求根據注冊消防工程師制度暫行規定第十二條,一級注冊消防工程師資格考試報名條件一取得。
4、明確指明二級注冊消防工程師考試時間為11月5日!具體詳情如下各市州人力資源和社會保障局省直有關單位人事處為進一步。
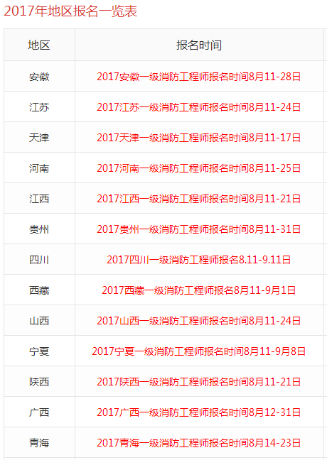
5、從今天起,一級消防工程師正式開啟報考,為方便同學們了解報名時間,開始每天更新報名時間,參加今年一級消防工程師考證的同學。
6、有人咨詢“二級消防工程師報名需要什么條件?”,學霸君為大家解答如下二級注冊消防工程師報考不限專業,取得中專及以上學歷。
7、考試吧江西二級消防工程師欄目為您提供江西二級消防工程師網江西二級消防工程師考試報名時間,江西二級消防工程師考試報考條件,江西二級消防工程師考試報名網站,江西。

8、2021年江西二級消防工程師考試即將開考,那2021年江西二級消防工程師報名什么時候開始小編來為大家解答,更多二級消防工程師報考指南相關信息。
9、江西二級消防工程師報名網 發布2018最新最全的二級消防工程師報名相關資訊,2022二級消防工程師報名時間二級消防工程師報名入口網址網站二級消。

10、這預示著2021年二級注冊消防工程師即將開考,考生們需提前做好相關備考工作 那 江西 2021年二級消防工程。
11、江西省二消二級消防工程師考試江西省最新發布2022年江西省二消二級消防工程師考試通知及報名公告考生應仔細閱讀通知內容,按要求完成報名工作詳細信息請登錄渡考網。
12、獲取江西二級消防工程師報名時間即時信息請關注“二級消防工程師考試報名”專題 二級消防工程師報名入口各省不統一,按照執業資格考試慣例,江西。
免責聲明: 本站提供的任何內容版權均屬于相關版權人和權利人,如有侵犯你的版權。 請來信指出,我們將于第一時間刪除! 所有資源均由免費公共網絡整理而來,僅供學習和研究使用。請勿公開發表或 用于商業用途和盈利用途。
本文鏈接:http://m.whxzws.com/xiaofang/7496.html
發表評論