造價工程師成績查詢時間預測,造價工程師成績查詢時間
2020年一級造價工程師成績正式公布!激動的心,顫抖的手!掃描下方二維碼,直接進入官網查分入口。
親愛的一造考友們經過漫長的等待終于盼來了造價成績查詢!中國人事考試網查分公告已發朋友們沖鴨!成績查詢流程1進入中國人。
親愛的一造考友們經過漫長的等待終于盼來了造價成績查詢!中國人事考試網查分公告已發朋友們沖鴨!目前中國人事考試網顯示高。
親愛的一造考友們經過漫長的等待終于盼來了造價成績查詢!中國人事考試網查分公告已發朋友們沖鴨!顯然,這個公告一出,公告時。
造價師成績統一般在中國人事考試網公布,具體查分時間暫未公布”1成績查詢入口2018年造價工程師考試成績查詢入口在哪?中國。
造價工程師考生可登陸中國人事考試網進行成績查詢,具體公布時間以網站公告為準造價工程師考試合格標準考試科目滿分合格標。

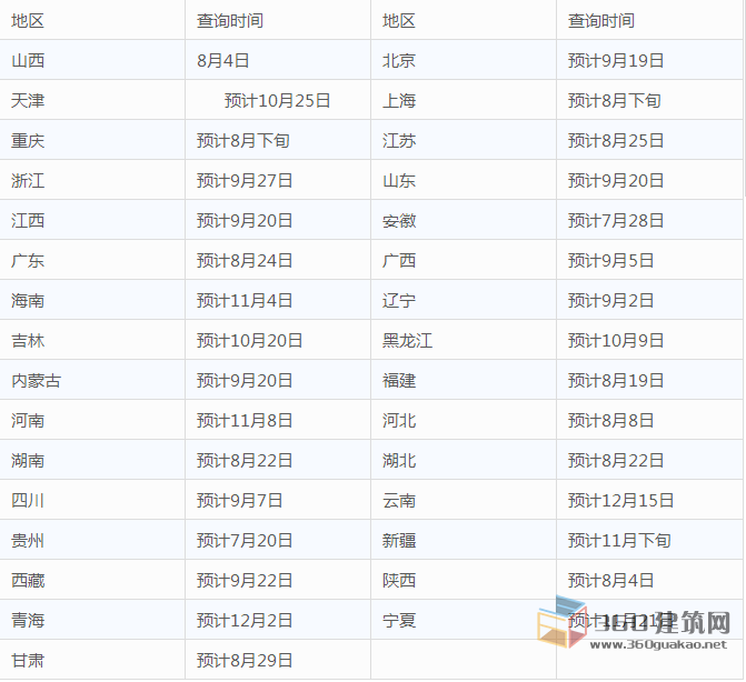
111成績查詢時間根據歷年造價工程師成績查詢時間來看,一般會在考后2個月進行公布,今年預計在12月下旬2016年考試時間10。
造價工程師成績一般會在考后2個月左右進行查詢以下省份在考試通知中,提到相關的考試查詢時間廣東按照人社部人事考試中。
根據2021一級造價工程師報名公告可知,2021一級造價工程師成績查詢時間安排如下 成績查詢 2022年1月中旬 登錄中國人事考試網查詢 合格標。
造價工程師考試網提供2022造價工程師成績查詢時間入口造價師培訓班2022工程造價師報名時間等最新考試信息,第一時間公布。
中國人事考試網發布通知,2021年一級造價工程師考試成績已發布,從12月23日起,考生可在線查詢成績2021年一級造價工程師成績查詢時間2021。
建設工程教育網一級造價考試成績查詢頻道,為您提供2021年一級造價工程師考試成績查詢時間,一級造價成績查詢入口相關信息,同時提供一級造價工程師。
2021年一級造價工程師考試成績查詢入口中國人事考試網 2021年一級造價工程師考試成績查詢系統 查詢考試成績時顯示“1”“2”“4”意味。

全國各省市地區考試成績查詢將會1月前后陸續開通,為方便考生第一時間掌握成績查詢信息,網校搜集整理了各地的2011年造價工程師考試成績查詢方。
小編整理了歷年造價工程師成績查詢時間,供各位考生參考 年份 考試時間 成績查詢時間 星期 2020年 10月2425日 預計2020年12月底 2019年 10月262。
各地2021一級造價工程師考試成績查詢時間及入口匯總,更多一級造價工程師成績查詢時間一級造價工程師成績查詢入口,請關注考試吧造價工程師考試 網。
免責聲明: 本站提供的任何內容版權均屬于相關版權人和權利人,如有侵犯你的版權。 請來信指出,我們將于第一時間刪除! 所有資源均由免費公共網絡整理而來,僅供學習和研究使用。請勿公開發表或 用于商業用途和盈利用途。
本文鏈接:http://m.whxzws.com/zaojia/5517.html
發表評論